تست 6 - نیمه عمر - صفر برنامه مطالعاتی 150 روزه
برنامه مطالعاتی 150 روزه
باکس 6
1
2
3
4
5
6
7
8
9
10
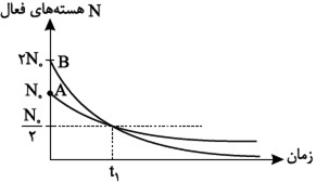
شکل مقابل نمودار تعداد هسته
های فعال باقی
مانده
ی دو ماده
ی
رادیواکتیو
A
و
B
را نشان می
دهد. در لحظه
ی
۳t
١
، تعداد
هسته
های فعال باقی
مانده
ی
A
، چند برابر تعداد هسته
های فعال
باقی
مانده
ی
B
است؟
1)
۲
2)
۴
3)
۸
4)
۶۱
ثبت پاسخ
50 ساعت تدریس کاملا رایگان زیست
برای دریافت ویدیو ها شماره ت رو وارد کن
دریافت تدریس رایگان
وارد شوید
برای حل این تمرین، ابتدا وارد شوید.
ورود و ادامه مشاهده